3D 打印相变散热器方案!电子散热性能实现量级跃升

来源 | International Communications in Heat and Mass Transfer
链接 | https://doi.org/10.1016/j.icheatmasstransfer.2026.110885
01
背景
电子器件的小型化、高功率密度化发展趋势,使得器件热流密度持续攀升,高效热管理已成为保障电子设备运行性能与长期可靠性的核心关键。相变材料(PCMs)凭借近恒定温度下的潜热吸放热能力,可无额外能耗实现器件温度稳定,是当前电子被动散热领域的核心研究方向。行业痛点:传统有机 PCMs(如石蜡)虽具备较高的潜热储能能力,但本征导热系数极低(仅 0.2W/(m・K)),导致内部热扩散不足、局部过热问题突出,严重限制了其在散热器中的应用效能。同时,现有研究对 SPM 结构与 PCM 类型的耦合影响机制探究不足,无法实现相变散热器的最优热管理设计。
02
成果掠影

近日,哈尔滨工程大学 Lujia Li、张晓侠团队研究了一种用于电子器件冷却的新型复合散热器。该散热器结合了3D打印的结构化多孔材料(SPM) 和两种不同的相变材料(PCM):石蜡和低熔点合金(LMPA)。系统研究了 10W/20W/30W 三种加热功率、0/0.3/0.5/1 四种 SPM 填充比下,石蜡与 LMPA 基散热器的热管理性能;研究发现无 SPM 时 20W 工况下 LMPA 散热器较石蜡基最大内部温差降低 39.6℃,60℃临界温度下 SPM 全填充的 LMPA 散热器温控时长较无 SPM 状态提升 129%,该协同增强方案彻底突破了传统 PCM 的导热瓶颈,为高功率电子冷却系统的先进热管理设计提供了全新解决方案。研究成果以“Enhanced thermal management of 3D-printed heat sinks with paraffin and low-melting-point alloy for electronic cooling” 为题,发表于《International Communications in Heat and Mass Transfer》期刊。
03
图文导读

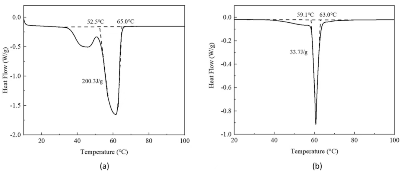
图1.(a)石蜡和(b)LMPA的DSC测试曲线。
图2.具有不同SPM填充高度比(R = 0、0.3、0.5和1)的散热器的照片(a)和示意模型(b)。

图3.用于检查散热器热性能的实验系统。

图4.热成像测试部分的分解图。

图5.热电偶位置示意图。

图6.使用(a)石蜡和(b)无SPM的LMPA的两种散热器的热响应。

图7.使用(a)石蜡和(b)带SPM的LMPA的两种散热器的温度响应。

图8.(a)石蜡散热器(R = 0)、(b)LMPA散热器(R = 0)、(B)石蜡散热器(R = 1)和(d)LMPA散热器(R = 1)侧壁的热图像。

图9.石蜡和LMPA散热器在三种功率下的温度变化:(a)10 W,(b)20 W和(c)30 W,有SPM(R = 1)和无SPM(R = 0)。

图10.采用SPM的LMPA散热器的温度曲线,填充率为(a)R = 0,(b)0.3,(c)0.5和(d)1。

图11. LMPA散热器在三种输入条件下的温度响应:(a)10 W,(b)20 W和(c)30 W。

图12.各种LMPA散热器在三个临界温度下的热控制时间:(a)60 ℃,(b)70 ℃,(c)80 ℃。

